智慧云停车
目录
智慧云停车 2
一、概述 2
二、数据中心 3
2.1 控制台 3
三、车场设置 4
3.1系统设置 4
3.2车道设置 5
3.3收费规则 6
3.3.1不收费 6
3.3.2月租车辆 6
3.3.3按次计费 7
3.3.4按时收费 7
3.3.5跨段计费 8
3.3.6分段计费 9
3.3.7循环计费 10
3.3.8银川计费 11
3.3.9测试收费 11
3.4车辆类型 11
四、车量管理 12
4.1固定车辆 12
五、优惠减免 12
5.1优惠卷信息 12
5.2商户信息 13
5.3购买优惠卷 14
5.4优惠卷记录 14
六、收费报表 14
七、查询统计 15
7.1进出记录 15
7.2车位信息 15
7.3异常记录 15
7.4进出次数 16
7.5场内记录 16
7.6任务记录 17
7.7余额查询 17
八、权限管理 17
8.1人员管理 17
8.2角色权限 18
智慧云车场是一款智能便捷的云端管理车场系统,无需电脑、加密狗、客户端。打造智慧,安全,便捷一体的车场
登录网站:http://www.bahecloud.com/(右击打开超链接可以直接进入)
微信小程序:停车商户通(优惠卷发行),智慧停车云管家(微信调控车场)。登陆界面,在网页输入网址,则进入该网站页面输入账户密码进入主页面。
在这个页面我们可以清楚看到车场的运行情况,顶部分5个模块:
今日收费金额、今日收费笔数、车场空位、设备数量、固定车辆数。
今日收费金额:对车场今日收费金额直观显示出来
今日收费笔数:对车场今日收费笔数直观显示出来
车场空位:车场实时统计的剩余车位数
设备数量:管控车场的相机设备的数量
固定车辆数:实时统计月卡车在场内的数量
中部和底部可以看到,近七日收费流水图,车辆进出流水图,场内车位实时数量。
2.2车道监控
车道监控可以看到相机的实时画面,支持相机有:ZS、QY。需要配置车道参数。如下图具体操作可以参考相机快速配置说明。(右击打开超链接可以快速打开)
如下图:红色字体为必填参数。
3.1.1参数设置
车场总车位:设置车场内的实际总车位数,方便系统实时准确的提供场内余位信息
地库车位数:对地库车位管控
临时车指定收费:默认临时策划的收费标准绑定
费离场时间(分钟):该功能是对预付车辆进行的时间管控,从缴费成功开始计算,超时则重新计费
临时车指定权限:绑定对应权限管控临时车辆。详细可以看3.3车牌权限(右击打开超链接可以快速打开)
用户到期提醒:对月卡车月卡期限到期剩余天数提醒
过期车延期规则:对月卡过期车辆管理,可以分:不允许延期,从过期截至日期顺延,当前日期顺延
访客指定收费:对于访客车的收费标准设定
访客指定权限:对于访客的权限设置
3.1.2LED屏设置
余位屏标题:是对户外屏显示自定义显示名称。
出场LED显示二维码:在设备上显示出场码
固定车进出欢迎语:硬件支持的语音才能播报
临时车进出欢迎语:硬件支持的语音才能播报
万能语音信息:需要配置万能语音卡
3.1.3车场设置
直接放行车牌—首字:这个功能可以输入车牌的首汉字,当相机推送车牌首汉字匹配成功,择自动放行进出场
临时车入场是否抬闸:车场对临时车进场管控
充值预设金额(分割):这个是对储值车的预设金额,方便车场管理员对储值车充值的时候,直接显示充值额度。
直接放行车牌—尾字:这个功能可以输入车牌的尾字,当相机推送车牌尾字匹配成功,择自动放行进出场
临时车出场是否抬闸:车场对临时车出场管控(选择了不抬闸,即使收费完成也需要现场岗亭人员开闸)
临时车在场停留(分钟):临时车必须停够设置的时间才能出场
重复出场收费:对于没有入场记录的临时车重复出场收费,可分为收费0元,指定金额收费,按照收费标准日限额收费
多车多位方式:可分为叠加收费,全程收费。
导入资料时存在相同:这是指导入月卡车牌资料,存在相同车牌时,可以在两种选项选其一,替换当前名单或者不替换当前名单
导入资料时车辆在场:这是指导入月卡车牌资料。已经在场内的车牌进行处理,可以在两种选项选其一,不处理或者修改场内车的收费规则(按照表格设置收费规则)
人工放行原因(‘;’分隔):用在小程序上手动放行,可以选择理由
无牌车扫码时检测地感:无牌车扫码需要压地感检测
3.1.4颜色设置
车牌颜色禁入:通过车牌颜色进行管控
车牌颜色收费:开启以后,可以按照不同车牌颜色绑定收费(得创建收费标准)
车道设置是添加车场相机的设置,红色字体为必填参数
通道名称:自定义该通道名称
出入口:绑定该通道进出口方向
相机IP:输入相机设备的IP地址
相机编号:输入相机的序列号
显示余位:可以显示地面或者地库车位余数,仅限入口设置显示
通道类型:分为地库车道和地面车道。地库车道只能入场月卡车,地面车道只能入场临时车
相机类型:支持多家厂家(根据相机厂家的拼音首字母大写)
显示屏类型:支持多家厂家(根据厂家的拼音首字母大写)
经纬度:选填
用于支付的的二维码,也是在这个页面生成,需要对应好通道名称,生成二维码
在这个车道设置里,可以手动点击开闸关闸,前提是确保相机状态为在线。
LED设置:先勾选需要设置的车道,再点击LED屏设置,可以设置音量,同步控制卡时间,和自定义广告下发
判断逻辑:允许重复进场,允许重复外出,允许地库重复进入,允许地库外出,车位满禁止进入,地库车位满禁止进入,不占用停车位储值车余额不足不放行,月租入场提示效期,月租出场提示有效期
车道限制,可以通过时间段限制车牌在对应车道进出
平台的收费规则,我们一个个类型详细解释下
不收费:设置以后,不在收费随意进出。主要用在不收费车场,例如:内部小区,机关停车区域等
用于固定车录入绑定,可以设置按月收费,按日收费,按季收费,按年收费,按半年收费,车主扫码延期或者中心端去缴费。
逻辑判断:月卡转临时收费,地面停车超时收费,过期车辆按临时收费,过期月卡允许入场
转临停收费标准,需要勾选月卡过期按照临时车收费或者地面停车超时收费。
停车超时:需要勾选地面停车超时收费
多位多车:用在同租车,超限则收费。
以设置当次进场免费时间,当次收费金额,过夜加收费用(0点跨夜加收),以及最高收费上限(跨夜金额和每次收费累计金额达到上限后则不在叠加费用)。
判断逻辑:入口收费(识别进场,则扫通道码缴费,储值车则直接扣卡内余额),储值车辆(月卡绑定该收费标准,进出场则判断为储值车),24小时内可以重复进出(收费达到最高重复进出)
常规时间计费标准,需要设置免费时间,首段收费时间和金额,间隔收费时间金额,24小时限额。
逻辑判断规则:24小时内可重复进出(达到收费上限,24小时内随机进出不收费),计费周期含免费时间(超过免费时间,计费时间也会将免费时间累计进去),免费时间不计入计费时间,计费周期含首段,储值车辆,余额不足不放行,总限额(设置当次最高限额,达到上限,当次不限时长停车)
总限额金额(需勾选总限额)
跨段计费是用于白天晚上跨段使用的收费标准,需要设置免费时间,24小时限额,时间范围(按照顺时针设置时间0:00到24:00),时段内首段时间(设置了时间段内的首计时),时段内首段收费,时段外首段时间,时段外首段收费,时段外间隔时间,时段外间隔收费,时段内限额,时段外限额。这些都是必填参数。
逻辑判断规则:24小时内可重复进出(达到收费上限,24小时内随机进出不收费),免费时间不计入计费时间,计费周期含首段,储值车辆,余额不足不放行
主要用于车场分时段收费,需要设置的免费时间,可以3段时间设置,按照车厂需求去设置对应的时间段即可
逻辑判断规则:总限额:当次最高收费限额。
储值车辆:勾选后可以绑定储值车
计费周期含免费时间:计费总时长统计免费时间
3.4.7跨段+分段计费
可以设置的时间段内,再次分段计费。设置一个时间段例如:8点到20点为白天时间段,设置时段范围就是0800—2000,时段内就是08点到20点,时段外就是当日的20点到次日08点
逻辑判断规则:免费时间不计入计费时间,储值车辆
可分12个时间段,每段收费设置收费金额,停车时间落在那段则按照该段计费,使用多个场景
逻辑判断规则:储值车辆,总限额
这是银川专用收费标准
设置好收费标准以后可以测试下是否能达到现场收费需求
3.5车辆类型
用于车牌录入需要标记的类型
四、车量管理
车辆信息红色字体为必填字体,车号会自动生成也可以自定义,但是不可以重复,车牌号的录入手动输入,注意同组车也是这个页面录入用“;”隔开(例如粤A12345;湘A77889)。收费规则按照该车辆类型设置,如果是收费性月卡则绑定对应的收费标准,如果是包月车主则绑定不收费类型。车辆类型绑定对应的类型。电话,地址,备注则选填。在这页面可以导入导出、删除、下发相机等功能操作,但请用户慎重操作。
4.2黑名单车
管控车辆可以使用黑名单录入管控
五、优惠减免
5.1优惠卷信息
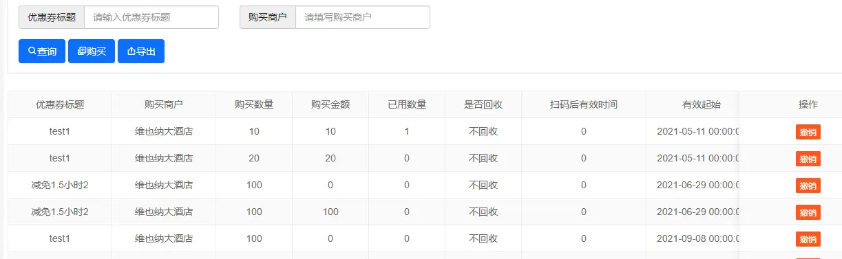
在优惠卷信息可以新增优惠卷类型,共有5种优惠类型,减费用,全免,打折,减时间,指定金额。一定要先把优惠卷类型新增好,才能在购买优惠卷充值优惠卷。
5.2商户信息(停车商户通——优惠卷小程序)右击打开超链接
新增用户信息,用于充值发行优惠卷,在微信搜索小程序‘停车商户通’,登录商户账户密码既可以发行。

5.3购买优惠卷
用户需购买由优惠卷,才能发行给车主
5.4优惠卷记录
用户发行的记录,充值记录在这均可以查到
六、收费报表
收费报表是对车场收费记录详细记录,方便管理员掌控整个车场收费流程,面包含了线上支付,现金支付,续费延期,储值车充值,收费统计,车辆退费,无感扣费等报表,可按照车牌和时间查询
6.1线上支付
此报表用于是记录电子支付的流水,订单号。凡通过电子中支付成功均可以这里查询到信息
6.2现金支付
此报表是现金支付流水,通过小程序‘智慧停车云管家’点击收费,
6.3续费延期
月租车的线上续费,记录续费金额时间。
6.4储值车充值
用于储值车充值流水,充值完成,在此报表可以查询完整的记录
6.5收费统计
记录各个管理员收费流水情况,以及收费总额
6.6车辆退费
主要用储值车退费
6.7无感扣费
用于无感收费。
七、查询统计
查询统计页面有,进出记录,车位信息,异常记录,进出次数,场内记录,任务记录,余额查询,下面则详细介绍这些报表用处
车辆进出的详细信息均在此报表可以查到,记录了车辆的进出时间,车牌号码,收费类别,停车时长,进出通道,进出场照片。
在车位信息里可以查到车场的余位数,在场车辆数
异常记录主要记录车场重复进出场流水
记录当天的进出场次数
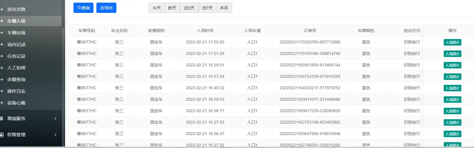
7.5车辆入场
车辆入场记录查询
7.6车辆出场
车辆出场查询
在场车辆记录,可以此页面手动放行场内,修改车牌号,以及查看入场图片
此报表记录了远程开关闸记录
7.9余额查询
查询储值车的余额
7.10操作日志
操作日志是体现车场登录,车牌修改等人工行为记录,方便用户查询
- 增值服务
8.1呼叫对讲
此功能用在无人值守,当车辆进出场出现问题,可以扫码呼叫客服或者管理人员进行处理,此功能维付费功能。
九、权限管理
新增车场管理人员
可分配角色权限,分级管理车场,设置对应权限可以可以同步小程序






暂无评论内容